派沃爾 歐儀----襯氟截止閥J45

產品介紹技術參數
產品名稱:襯氟截止閥J45
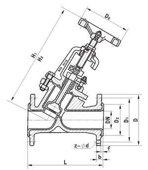
結構示意圖

設計制造標準
主要特點及用途
直流式襯氟塑料截止閥專用于控制強腐蝕性介質,閥體內腔表面覆有可供選擇的各種氟塑料,適用于不同工作溫度和流體管路。具有強度高、耐腐蝕性能好的特點。
基本型號
技術參數
如果您想對本產品的報價或進一步的資料,請填寫以下表格。
上一個:派沃爾 歐儀----襯氟隔膜閥
產品中心
新聞中心
聯系我們
熱線:
021-61250946 61250905 61250945
021-61250946 61250905 61250945
手機:13671770016
18521512599