派沃爾 歐儀----襯氟截止閥J41

產品介紹技術參數
產品名稱:襯氟截止閥J41
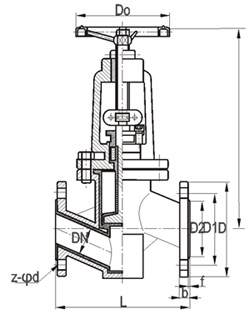
結構示意圖

設計制造標準
主要特點及用途
1、氟塑料襯里J41F46型直通式,具有結構緊湊、啟閉靈活、耐腐蝕性能強,行程短(一般為公稱通徑1/4)等優點,被廣泛應用在石油、化工等管路系統做截斷介質用,但需要強調的是氟塑料襯里的截止閥嚴禁用做流量調節,以免節流口處產生高速介質流沖蝕破壞密封面。
2、閥瓣與閥桿設計為一體結構,用以防止由管路壓力波動造成內件沖出閥體的可能有性,結構緊湊,使用安全。
基本型號
技術參數
如果您想對本產品的報價或進一步的資料,請填寫以下表格。
下一個:派沃爾 歐儀----襯氟放料球閥
產品中心
新聞中心
聯系我們
熱線:
021-61250946 61250905 61250945
021-61250946 61250905 61250945
手機:13671770016
18521512599